机场选址和飞行器选型
用户应事先掌握国家有关无人驾驶航空器管理的政策和当地航空管制区域的划定,了解飞行任务区域的电磁环境、气象地理条件、高大树木、大型设施和建筑物分布。无人飞行器机场选址时应注意避开限飞区、禁飞区、军事管制区及可能出现强风和强电磁场干扰的地区、空域。
为保障人员、财产、设施安全不受无人飞行器威胁,避免卫星定位及遥控、图传信号受到遮挡、屏蔽,防止建筑、障碍物影响飞行器起降和飞行安全,机场应安装在室外空旷处, 应尽可能远离人群、敏感设备、文物古迹、贵重设施及高于安装位置的建筑和障碍物,射频地面站还应尽量安装在高处。
用户应确定需要使用飞行器完成的任务类型、任务区域、应用载荷、航程并规划航线及高程曲线,计算、实测电力消耗、续航能力需求并将电池多次循环充放电后正常的容量降低纳入分析。用户还应获得无人飞行器的数据手册等技术资料,了解飞行器的起飞条件、返航降落模式及定位方式、定位精度、抗风能力、工作温度范围及其它各项特性和性能指标。最终选定的无人飞行器机型在允许的风速和能见度范围内应确保自动降落水平定位精度不劣于±0.1 米。
用户及安装施工单位应携带主要任务无人飞行器机型和相关仪器仪表实地考察备选机场地址,遍历可能的航线及任务区域,实测地磁扰动和移动无线网络、卫星定位信号质量, 在各种可能的飞行器姿态、朝向条件下测量遥控、图传通信的上下行信号强度,通过数据记录确认地磁扰动符合本手册极限运用参数的要求,确定在机场及周边预定任务空域范围内能够可靠控制飞行器、稳定传输图像/数据且飞行器的卫星定位装置、地磁导航装置能稳定工作、不受到干扰。
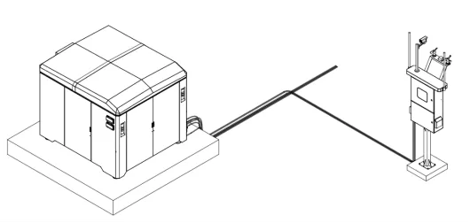
供机场使用的场地地面应为平坦空旷的混凝土表面,平整度偏差小于 5/1000 且不得超过 10 毫米,表面无植被、管道、沟渠、异物及其它设备、设施以防止飞行器迫降时倾倒或与物体发生碰撞。场地附近 10 米范围内应安装有避雷设施。机库应设置在场地所含最大矩形区域的中央,顶盖展开方向与矩形长边平行。矩形区域长宽应分别应不小于 8 米和 6 米,区域内地面或屋面的永久荷载能力应达到或超过 10 千牛/平方米。机库支撑位置的混凝土强度应不低于 C30。在裸露土壤上新建场地应至少在机场安装前 30 天铺设混凝土地面,并在场地中心位置浇筑好与机库底部尺寸一致、凸起高度不低于 20 厘米、强度不低于C30 的混凝土承重平台。场地、承重平台均不得含有钢筋等铁磁性物质并应确保其上表面水平坡度在±1°以内。气象站的预定安装位置应距离机库本体 3 米至 5 米。气流不稳定、风速变化较大的场地可以考虑安装多个风速传感器。
机库及射频气象地面站的安装位置应具备或安装符合如下要求的户外电气设施。
| 电气设施 | 设施要求 |
| 电力供应 | 外壳达到 IP54 防护等级、接地良好且符合漏电保护标准的 220V 50Hz 25A(均方根有效值)单相交流配电,至少含国标三眼插座两只(25A 一只供机库使用,10A 一只运维备用)或提供接线端子供电缆直连。 |
| 宽带网络 | 达到 IP54 防护等级、任意时段与外网连接最低有效上下行带宽分别达到50Mbps 的有线宽带网络,至少含 RJ45 插座一只或提供超五类网线直连。 |
选址人员应确认宽带网络可以连接机场管理系统,测试上下行带宽时应使用相关工具在多个不同时段分别测得安装点网络接口与机场管理服务器及视频服务器连接的实际数据上传、下载速率并获得其平均值和最小值的统计。网络接入点的本地或内网连接速度不能作为评估依据。
以下施工布局图供参考,实际布局应根据具体场地情况施工。

机库、射频箱方位示意图1

机库、射频箱方位示意图2

机库放置台示意图1

射频箱安装方式1

机库外部接线图

设备防雷措施方案
一、防雷设计原则
综合性:防雷设计应综合考虑直击雷防护、雷电电磁脉冲(LEMP)防护、等电位连接及共用接地系统等多个方面。
科学性:根据机库所在地的雷电活动规律、地形地貌及气候条件,科学规划防雷设施的布局和选型。
可靠性:选用技术成熟、性能稳定的防雷设备,确保防雷系统长期可靠运行。
二、直击雷防护
1、避雷针/避雷带:
在机库顶部或周边安装避雷针或避雷带,将雷电直接引入地下,避免直击雷对机库及其内部无人机的损害。
避雷针/避雷带的设计应符合相关标准,确保其保护范围覆盖整个机库。
2、引下线与接地装置:
设置足够数量和合适间距的引下线,将避雷针/避雷带与接地装置可靠连接。引下线应选用耐腐蚀、导电性能好的材料,如铜材或热镀锌钢材。
接地装置应埋设在土壤电阻率较低的区域,并采取降阻措施(如使用降阻剂、扩大接地网面积等),以确保接地电阻满足规范要求(一般小于10Ω),使雷电流能够迅速泄入大地。
三、雷电电磁脉冲(LEMP)防护
1、屏蔽措施:
对机库内部的关键设备(如无人机充电系统、控制系统等)进行电磁屏蔽处理,减少雷电电磁脉冲的干扰和损害。可以采用金属网、金属板等导电材料制成屏蔽层,并确保其良好接地。
2、等电位连接:
在机库内部实施等电位连接措施,将所有金属构件(如金属门窗、管道等)及电气设备的外壳可靠连接至等电位连接带或接地装置上,以消除电位差带来的危害。
通过等电位连接,可以确保机库内部各点电位相等或相近,从而避免雷电电磁脉冲引起的电位差放电现象。
3、过电压保护:
在无人机机库的电源线、信号线等进出线路上安装过电压保护装置(如浪涌保护器),以防止雷电电磁脉冲引起的过电压对设备造成损坏。
过电压保护装置应具有快速响应、高可靠性、低残压等特点,以确保在雷电发生时能够及时有效地保护设备安全。
四、定期检测与维护
防雷设施检测:定期对机库的防雷设施进行检测,包括避雷针/避雷带的完整性、引下线的连接情况、接地装置的接地电阻等,确保其性能正常。
维护保养:对防雷设施进行必要的维护保养工作,如清理避雷针/避雷带上的杂物、检查并紧固连接螺栓等,确保防雷系统的稳定运行。